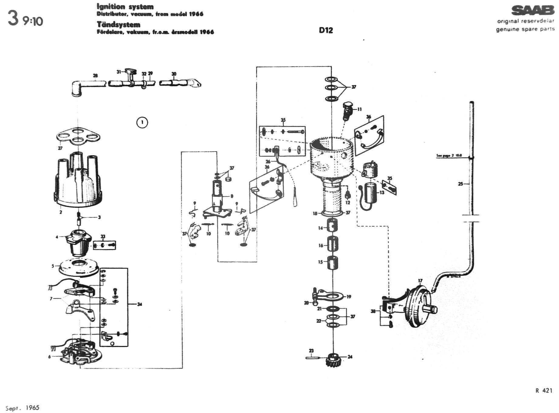
3-D12         ↑ Main Index     << Thumbnails     < Previous     Next >

3-D12